Sony tenía pendiente esta patente desde 2010 y por fin se han mostrado los primeros esquemas sobre cómo va a funcionar. Ni qué decir tiene que si Sony ha publicado esto es porque ya está bien atado y lo veremos en las consolas del futuro.
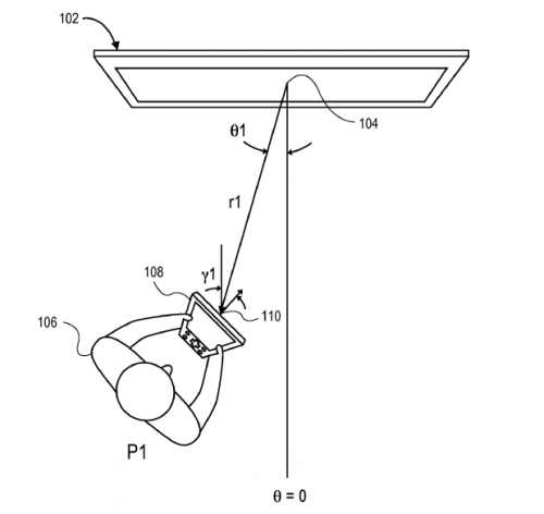
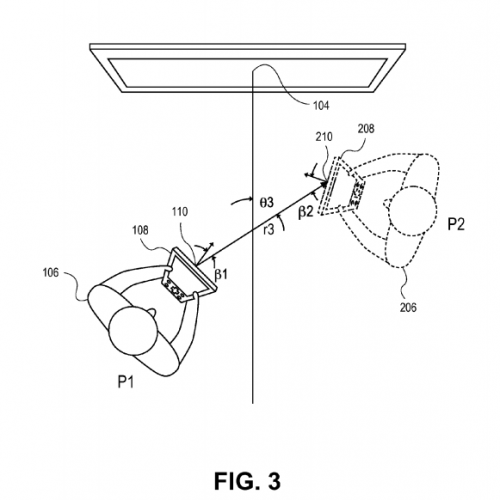
Por ahora el invento no tiene nombre oficial, aunque se le conoce como Position-Dependent Gaming 3-D controller. El concepto es similar al de Wii U, que fue presentado en el E3 del año pasado. El dispositivo muestra los objetos que aparecen en pantalla e interactúa con los objetos en la televisión, también actúa como un controlador y como creador de realidad aumentada.
Cada controlador tendrá un avatar que será nuestro personaje que según nuestras reacciones en el mundo real, reaccionará en el videojuego, tanto movimientos como expresiones. Al parecer se podrán conectar más de uno de estos controladores a la vez, aunque no está confirmado.
No se sabe si esta patente estará relacionada con la conectividad de PS Vita con la futura Playstation 4 o puede ser un aparato independiente… Si nos ponemos a soñar… ¿Por qué no soñar con algo parecido para Playstation 3? Potencia lo le falta, y usar ese control con PS Vita sería darle un estoque mortal a Nintento.
Aquí os dejo algunas imágenes esquemáticas adjuntadas por la patente:


















Vienen los trolls con su «le copió a Nintendo» en 3… 2… 1…
Para q luego no digan q Sony le copio a Nintendo, lean y vean q la fecha en q fue mostrado para la solicitud de patente fue en el año 2010, mucho antes de q Nintendo presentara el suyo.
se ve bien, la verdad capas y ya esta mas avanzado que el de Wii U que como sabemos nintendo no a acabado la consola xD, y piensa sacarla este año, siento que hara lo que hizo xbox, sacar una cosa rara que se descomponia facil pero a ver que pasa, aunque bueno a ver que pasa digo tambien patento ps move en el 2001 y lo vino sacando hasta el año antepasado xD
AAA, pero mira que extraña coincidencia, pero bueno, las palabras sobran, de todos modos el estigma de sacar un producto similar después de otra compañía Sony no se lo podrá quitar, y digan lo que digan los fanáticos hipnotizados de Sony, los de NINTENDO se atreven y tienen la visión de sacar productos con potencial e innovación, las demás compañías como saben que NINTENDO es el que marca el rumbo de los Videojuegos, pues solo pueden imitar, eso ya ha quedado demostrado en MUUUUUUUCHAS OCACIONES…
SALUDOS FANATICOS DE SONY ya es hora de despertar de el sueño Morféico y Farmacodependiente en el que han caido por SONY… (=^_^=)
aahh! Pero que raramente extraño! Pues entonces porque Sony no la presento primero!?! Nintendo es mucho mejor siempre trata de traer algo nuevo!!! Ojala y Sony se unda y vuelva a quedar en ultimo lugar de consolas vendidas!