Recientemente se dio a conocer, a través de la oficina de patentes de Estados Unidos, un nuevo dispositivo que está siendo desarrollado por Sony, con el cual se podrá crear un ambiente interactivo en tiempo real y tercera dimensión.
Este periférico ha sido desarrollado por el Dr. Richard Marks, la misma persona que creó el Eye Toy y el PlayStation Move. El registro data del 26 de octubre del 2011. Entre las especificaciones del dispositivo destacan:
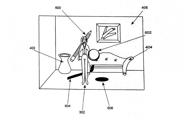
- El uso de 3 dimensiones para crear un ambiente interactivo.
- Puede obtener valores de profundidad de varios objetos físicos, así como conocer la distancia entre estos.
- El rango de profundidad del dispositivo puede ser ajustado de tal manera que se limite el área de juego a un tamaño en específico.
- Los objetos físicos podrán ser detectados por el dispositivo y ser trasladados de manera digital a una pantalla
Seguramente esto causará polémica entre la comunidad gamer y geek, pues el dispositivo descrito realiza funciones muy parecidas a las de Kinect. Sin embargo, debemos tomar en cuenta que se trata de una patente nueva, por lo que se espera que no sea idéntico al sensor de movimeinto Microsoft.














SIIIIII!!! Era lo que le faltaba a mi PS3! Ya lo esperaba desde que salio el kinect!
ya somos 2 Libia
No se casan de copiar!!!
Cansan** !!
en esta industria es inevitable que sucedan cosas asi
como tiran aceite!! jajaja es que estan desesperados porque si esta pegando el kinectk
Pues promete mucho y se ve genial el proyecto, pero la pregunta real es ¿Tendrá tantos bugs como los tuvo kinect en sus inicios?, todos estos dispositivos tienen que ser perfeccionados al paso del tiempo, así que no me sorprendería que falle al principio. (puede que me equivoque). Y por cierto esto que estoy escribiendo no niega que sea una excelente noticia.
asi es cristian casi siempre cuando un nuevo dispositivo se lanza al mercado trae consigo algunos problemas que pueden que hallan pasado por desapercibidos por los desarrolladores o que apenas se estén familiarizando con el nuevo aparato, los ejemplos son notorios: Kinect, Vita, 3DS. por cierto que bueno que sea de tu interes la noticia. saludos